Tesla fabrica sus coches eléctricos partiendo desde cero y sin los condicionantes que los fabricantes tradicionales heredan de los coches de combustión. Aprovechando esta premisa, los californianos están desarrollando todo un marco tecnológico para hacer que sus coches sean más fáciles de fabricar, más útiles a los usuarios y más baratos.
Entre los sistema que Tesla está empeñada en cambiar de raíz están los limpiaparabrisas, para los que ha inventado un sistema de detección de agua y restos de suciedad que posteriormente son destruidos mediante un haz de rayos láser.
Indica GONZALO GARCÍA que e diseño tradicional de los limpiaparabrisas, compuestos por uno o varios brazos, molesta la visión del conductor y, en la mayoría de los casos, no consigue eliminar el agua de forma eficientemente y es prácticamente inocuo contra la suciedad. En 2019, Tesla presentaba un sistema electromagnético que trataba de eliminar parte de estos inconvenientes mediante unos limpiaparabrisas electromagnéticos.
Desarrollados aparentemente para el Roadster, una única varilla que funciona de manera lineal para eliminar el agua que cae sobre él. El Tesla Cybertruck también ha llamado la atención porque los prototipos mostrados no exhiben ningún tipo de limpiaparabrisas visibles en su frontal, aunque esto puede ser debido a que el fabricante aun esté revisando el diseño final.
En mayo de 2019 también presentó antes la Oficina de Patentes de los Estados Unidos otro sistema que utilizaba el láser para eliminar el agua y la suciedad. Ahora se ha publicado oficialmente la idea de Tesla y todos sus detalles tras haberle concedido la patente a finales de 2021. Bajo el nombre “Limpieza mediante láser pulsado de los desechos (escombros) acumulados en artículos de vidrio en vehículos y conjuntos fotovoltaicos” se encuentra una de las ideas más geniales (y locas) del fabricante californiano.
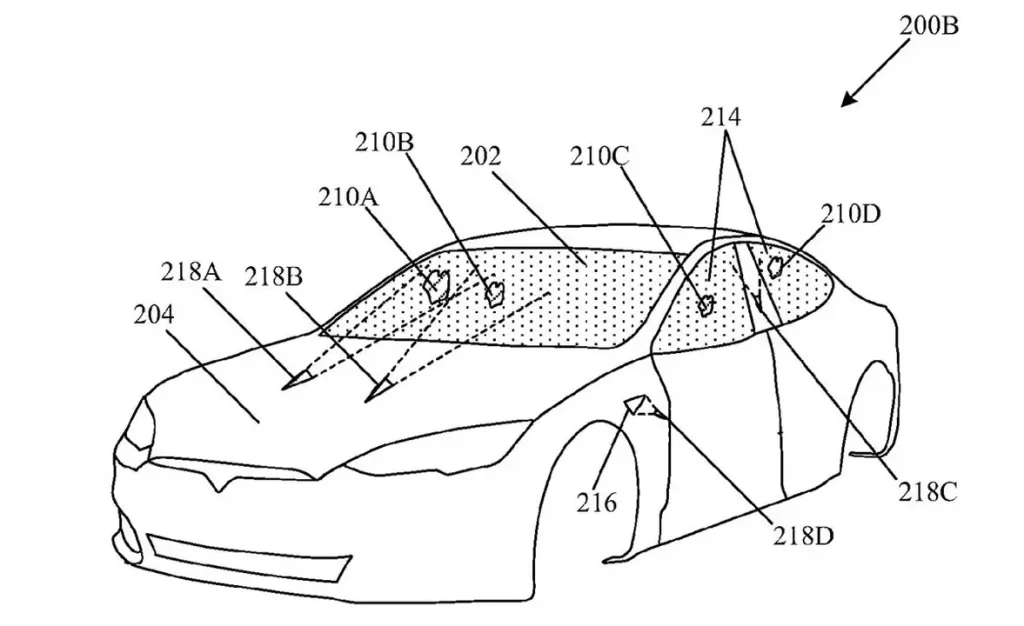
En el texto que describe la patente Tesla afirma que se trata de un sistema de limpieza para los vidrios (y paneles solares) de un vehículo que incluye tres componentes: un conjunto óptico que emite un haz láser para irradiar una región sobre el vidrio, un circuito que detecta los desechos acumulados sobre esa región y un circuito de control. El circuito de control calibra los parámetros asociados al rayo láser emitido desde la óptica en función de los elementos detectados sobre la región. También controla el nivel de exposición del rayo láser sobre ellos en función de la calibración.

Si bien no está confirmado que Tesla tenga intención de implementar este sistema próximamente, las imágenes de la patente lo muestra instalado sobre un Tesla Model S, lo que podría significar que los primeros prototipos de prueba que se han desarrollado ya o que se vayan a desarrollar puedan implementarse sobre este modelo en particular.
El diagrama de flujo que dibuja la patente y que explica la inteligencia con la que trabajaría el sistema es el siguiente:
En primer lugar actúa el sistema de detección de restos barriendo la superficie del parabrisas de manera constante. A continuación, una vez analizada la región sobre la que actuar y el tipo de material sobre el que va a trabajar, se calibran los parámetros del rayo láser a emitir desde el sistema óptico. El sistema calcula el nivel de exposición del rayo láser sobre los materiales. A continuación lo irradia eliminando los desechos en esa zona predeterminada.
El sistema debería funcionar de manera automática, aunque Tesla describe un potencial sistema manual controlado por el conductor que podría dirigir el rayo láser hacia la zona que deseara controlándolo mediante una pantalla táctil, un joystick “u otro medio que permitiera una comunicación del conductor con el sistema que resulte sencilla y eficaz.



